点击上方“溪流之海洋人生”即可订阅哦深海大洋是一个连接全球各大陆的巨大空间,拥有浩瀚的水体气候资源、海底矿产资源和丰富的生物基因资源。人类一直开展深海大洋科学探索,而通过海洋仪器是开展科学探索的重要技术载体。海洋科考仪器可搭载一系列专业化的传感检测器、物理量探测设备进入深海预定位置现场完成测量、分析、评估和探测作业,获得高价值科学样品与数据,实现突破性科学发现。
. @9 x; Z4 Q* B$ x/ V% b 目前,海洋科考仪器多搭载于海洋科考船舶,多为专业仪器设备,通常需要在海上进行现场布放。由于海上海况条件、船舶条件不同,海上布放机构是实现科考仪器在现场实现作业的重要仪器设备,也是海洋科考设备的必备工具。应用于深海大洋的仪器受探测及作业深度的增加,其重量普遍较大,人力布放及回收已不现实。海上布放通常采用船载吊放设备进行作业,而抛载释放机构则较为简单,大部分采用船载折臂吊机将仪器吊装,仪器与吊机通过一个机械式安全销轴释放机构连接。布放时拨出安全销,释放机构处于活动状态,其触发机构与一根绳子连接,由专人松紧绳子,当吊机回转至指定海域,人工拉动绳子,在仪器自身重力作用下,触发释放器,从而实现释放。上述释放机构优点是结构简单,但在整个布放及回收过程中,实际释放机构始终处于活动状态。 1 Q# |+ a" B4 ~( y
考虑到海上涌浪船舶摇摆等情况,布放极易造成脱钩,形成安全事故,主要问题包括:淤布放过程存在安全隐患,海上恶劣海况极易造成仪器坠落造成人员及仪器的安全隐患;于布放效率低下,耗费大量海上宝贵时间,对布放人员经验要求高,存在技术门槛;盂触发机构设计精度高,给制造工艺、材料选择带来困难,造价高昂,目前考虑到制作工艺水平基本采用国外进口,无法解决“卡脖子”问题。
8 j1 E* m4 M" D2 ?* w' h/ U 为解决上述问题,本文基于“蛟龙”号载人潜水器科学应用航次过程中的现场任务需要,开展了“一种基于电磁驱动的红外遥控式海洋装备甲板吊装释放机构”设计研究,进行了机械结构设计,采用杠杆式机构设计,实现微小电磁力控制重型吊载力的原理;提出了远程红外光谱遥控触发的控制策略,从而极大降低了人工触发带来的危险性和失败率;触发机构采用电磁式吸附设计,相对于以往机械式释放机构具备触发冗余度高的特点,同时具备两套独立触发释放能力,保证了成功率,同时良好应用前景。
% g1 {$ i. |2 T5 {7 v 一、国内外研究现状
# V' U. e8 D8 S3 J# C$ ]+ l 海洋装备抛载机构主要分为水下和水面两种,其中水下抛载机构主要用于运载器的上浮下潜调节、深海探测工具的抛载等,水面抛载机构主要用于海洋科考仪器在甲板的吊装抛载释放,即为水面的抛载作业,将调查设备布放至海底。 4 L2 b( s) f2 G: C* c+ x" z1 K
⒈水下抛载机构 : V8 n2 N! j0 M6 Y
⑴美国Alvin载人潜水器 + \4 u8 u0 t4 W0 Z4 v# ]! U
美国Alvin载人潜水器是目前世界使用效率最高、应用效果最为显著的载人潜水器,其水下抛载机构采用了机械式抛载形式。如图1所示,抛载机构主要由销轴、挂钩、凸轮、弹簧等部件组成,主要工作原理为潜航员通过舱内操作,驱动机构带动销轴动作,销轴连带驱动凸轮转动,当凸轮转动达到90°时,搭钩机构闭合,随机实现挂钩的脱开。 8 J: ^& O! z/ a% \4 z
图1 Alvin抛载机构
- O& o4 D5 Y& b8 D- v* J ⑵日本Shinkai6500载人潜水器 % Y& }. R) L; i, S* q: {* ]; K
日本Shinkai6500载人潜水器采用电磁液压驱动形式,其控制端由一个电磁式三位阀组实现抛载动作,如图2所示。当三位电磁阀左得电时,液压系统驱动使重块与潜水器本体保持连接;当三位电磁阀右得电时,液压系统驱动使重块脱离潜水器本体;当电磁阀失电时,阀处于中位,压载重块在自重作用下自行脱离潜水器,该装置可实现三重保险,具有高可靠性能。 / k# Y6 j# p7 y# F" a" @
图2 Shinkai6500抛载机构
/ \( }- f$ i2 V$ V4 V0 q ⑶法国“鹦鹉螺”号载人潜水器 * L8 B# r& G( l3 O& Y
“鹦鹉螺”号抛载机构采用了电磁力吸附原理实现抛载,如图3所示。抛载箱采用漏斗形结构形式,内缠绕有通电线圈,当线圈通电时,随即产生强力磁场,在磁力吸附下,抛载箱内的磁性铁丸被吸附住;当需要抛载时,潜航员操作使线圈断电,磁场消失,铁丸在自身重力作用下抛载。 / |6 f7 ~4 v7 ^9 v9 t8 `
图3 “鹦鹉螺”号抛载机构 % I/ ^( O n( W, o- m
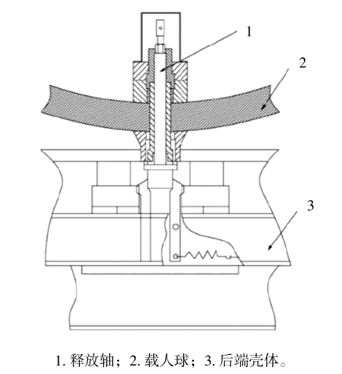
⑷中国“蛟龙”号载人潜水器 / k' n! o1 R. {
我国“蛟龙”号载人潜水器可弃压载抛弃装置主要用于装载压载重块,并通过吊挂机构、重块导向机构挂于潜水器中,通过潜水器抛载电磁阀释放压载重块从而改变潜水器自身重力及浮力,以保证潜水器在下潜、上浮过程中的正常运行。 : s9 T# s1 w1 O' o, Y
载人潜水器的可弃压载配重装置由吊挂和释放机构、压载重块等机构组成,如图4所示,下潜压载(297mm×197mm×318mm),上浮压载(298mm×298mm×650mm),其中下潜压载铁重量为135~145kg,上浮压载铁重量为225~235kg,根据潜航员情况每次进行配重调整。
% Q) [+ { M' n0 ?& \" ^ 图4 “蛟龙”号可弃压载抛弃装置 4 M# G) u9 h( N4 r! g
⒉水面抛载机构
' j# |1 H3 Q9 H: L: D! P 目前水面抛载机构主要采用机械式释放钩,如图5所示。该类型释放钩目前已完全市场化,多采用优质高强度合金钢(316L)为承载主体,配有热处理加强技术,具有结构简单、重量轻便、承载能力强等优点,已广泛应用于深海调查潜标及海床基等设备的释放,已成为海洋科考的必备工具之一。然而该设备也存在一定缺点:淤在作业过程中需拔掉安全销,抛载机构存在受船舶涌浪摇摆抛载释放安全隐患;于对表面工艺处理要求极高,普遍采用国外进口产品;盂对作业人员要求较高。 ( ~$ Z- n6 n9 h1 P( h& h" C
图5 机械式释放钩 ) I) e9 N2 g& o y& e* B, T4 G
二、技术需求分析及结构设计 9 @' O( M7 [9 I
⒈工况分析与技术指标
2 @/ c7 H- X$ k+ L9 n$ a l 大洋科考过程中,受极端海况影响,船舶在涌浪影响下经常出现较大的升沉幅度,同时伴随横纵摇运动,这对海上工作带来一定挑战。海上吊装布放的科考仪器普遍在200~600kg,采用船载折臂吊开展吊装作业,利用释放器完成布放工作。主要工作流程包括:淤布放前将顶部吊钩与折臂吊的吊钩用U型环连接,手动旋出触发保险螺钉;于通过无线控制器启动电源,电磁吸附装置产生不低于50N的吸附力;盂将设备吊至水面以上1~2m处(视海况情况),触发无线控制器按钮,打开杠杆限位,完成释放动作。 ) E N' ^9 @* m8 a/ i- ] D
基于工况分析,抛载释放机构的技术指标包括:最大负载能力2000kg;控制方式采用远红外控制方式,具备无接触的优势;电磁耦合驱动吸附力不小于50N;动力源采用自容式设计,锂电池供电;整机重量小于10kg。 % m6 L& Q8 v2 R5 |) `( r1 t0 l! `
⒉总体结构设计及工作原理 $ _. f6 Z! |$ u1 O
针对复杂多变、高温、高盐、高湿等海上作业的特点及海上仪器设备布放需求,基于“蛟龙”号载人潜水器可弃抛载机构设计基础,提出了一种基于电磁驱动的红外遥控式海洋装备甲板吊装释放机构设计,该机构主要采用杠杆基本原理,通过机构限位的方式实现小力控制大力的效果,机构由电磁吸附机构、承载及机械释放机构和执行机构组成。左右两侧为独立的电磁吸附、电源及无线控制模块,左右两侧模块互为备用,可独立使用;中部为吊装承载及机械释放模块;每个模块由结构复杂的机构组合而成,各个子模块均可实现海上组装与更换,总体结构如图6所示。
, v! ]3 q( E' [' o% V. H 图6 总体结构 3 ?2 U& S+ M' u6 g c* m
基于电磁驱动的红外遥控式海洋装备甲板吊装释放机构工作原理如图7所示,主要执行结构由电磁吸附机构、杠杆(触发连接杆)、吊钩组成,在工作前或处于吊装状态时,左右吊钩处于闭合状态,从而承担吊装工作,当需要释放时手动触发红外遥控器,无线控制器收到命令信号后触发电源开启,电磁铁上电并产生不低于50N的吸附力,电磁力向内挤压杠杆,在杠杆作用下,另一端向外侧产生移动,杠杆发生转动,与此同时转动转轴在吊装力作用下,产生位移,当转动超过一定幅度后,销轴脱离,对吊钩限位作用消失,从而最终实现了抛载。 % F, M0 Q& ~2 C7 C7 q6 ?
图7 电磁驱动的红外遥控式海洋装备甲板吊装释放机构工作原理 8 E" |3 P/ O4 N, [
⒊电磁吸附动力机构
# o( C a. b$ `% r 电磁吸附动力机构如图8所示,左右两侧电磁吸附、电源及无线控制模块主要包括一个电磁铁、吸铁、触发拉杆、一套独立供电电源、一套无线控制器,外部罩有聚四氟乙烯的透明保护罩。工作过程中红外无线控制器收到命令信号,给独立电源一个模拟量信号,控制电源开启与关闭,电源开启时,电磁铁上电,从而产生不低于50N的吸附力,电磁吸附联动块产生动作,触发连接杆与电磁吸附联动块连接在一起,同时也产生动作,从而完成触发随动挡销转动限位及触发杠杆限位。 3 [" s3 ]2 Y! ^) l2 @& M
图8 电磁吸附动力机构 8 `0 v, S4 v. Z; O. Y
⒋承载及机械释放机构 3 K- O P% y8 k) B; D+ x$ e- {
承载及机械释放机构是整套抛弃装置的核心部分,其外形如图9所示。顶部吊钩、左支撑板、右支撑板及中部支撑销轴,承担了主要的承重作用,同时中部右支撑臂及左支撑臂由中部支撑销轴串联组成,共同组成了吊装钩,具备被动的承重作用;顶部吊钩、左支撑板、右支撑板及中部支撑销轴采用316L加工而成,通过调整钢材厚度满足500~5000kg吊装的需求。 % `2 l+ P/ K! a4 V6 I2 H% e3 O
图9 吊装承载及机械释放机构 4 G. G% r- C9 Y1 f8 Q1 Q& i; p
⒌执行机构 \9 |- V5 ]6 l% {8 S" f5 g
左触发杠杆、右触发杠杆、触发随动挡销、压缩弹簧等组成了执行机构,如图10所示。工作时压缩弹簧由于触发连接杆的动作处于被压缩状态,使得触发杠杆被触发随动挡销限位,当触发时,由于压缩弹簧的回复力使得触发随动挡销转动限位打开,随之触发杠杆限位打开,由于底部吊钩的重力使触发随动挡销转动产生转动,从而触发杠杆动作,完成了释放动作。 8 N% X' ~2 V3 Y7 C* y
图10 执行机构 $ G, H) F- _2 L
三、力学分析
, O6 J8 m- P0 V+ u! L! I2 E ⒈释放器材料选择
% h4 Y" U2 ]8 B1 I7 H5 s- I- n 由于释放器主要在海上开展吊放工作,应充分兼顾到海上高盐、高温、高湿等极端情况,同时受海况影响还应考虑高冲击载荷等因素,拟采用尼龙(PA66)、铝合金(AL6061)、钛合金(TC4)作为备选材料,根据《机械设计手册》查询其力学参数如表1所示。 ' |$ M, C& D: r5 m
表1 3种材料力学参数对比 ) S! e$ z. K' b: J8 k7 n, l3 F
在计算中采用的材料属性:PA66的弹性模量为3.3GPa,泊松比为0.35,屈服极限为58.5MPa。根据采用多项式拟合法,测算出AL6061弹性模量为67.21GPa、泊松比为0.33。综合上述材料的力学性能,可满足结构设计要求,考虑耐腐蚀性的要求,拟采用PA66作为保护外罩的结构材料;考虑到经济性,拟采用AL6061作为执行部件(包括左触发杠杆、右触发杠杆、触发随动挡销、压缩弹簧)的结构材料;考虑到高冲击性及高负载能力,拟采用TC4作为受力构件(包括顶部吊钩、左支撑板、右支撑板及中部支撑销轴)的结构材料,现通过有限元方式对3种材料进行力学分析。 3 q$ l% d& r! g2 P
⒉释放器吊载静力学有限元仿真分析 9 s6 {! P e$ f
利用ANSYSworkbench15.1的Mechanical模块进行结构力学有限元分析,材料温度均默认为30℃的常规温度,模型为solid实体,进行3D几何划分,考虑到网格的质量及处理速度,拟采用Tetrahedrons四面体网格划分中的PatchIndependent法进行网格划分,生成体网格并映射到表面产生表面网格,该方法能够容许质量较差的CAD几何模型导入,并能较好地实现网格划分。全局网格精细调整Relevance值为65,同时对Sizing全局单元尺寸参数进行设置,以优化网格质量,采用作用于边和面的curvature模式,设置minsize为0.002mm,maxfacesize为2mm,同时对左右支撑板采用inflation逐层划分网格,划分10层网格。最后利用statistics中的skewness进行统计,整个模型共计96万个单元,162万个节点,其中Average为0.24,处于比较优良的网格质量区间,如图11所示。 ; N# u4 J6 s' B0 v
图11 网格划分 0 a8 A. N; ^9 x0 S/ `/ b# W
考虑到顶部吊钩的力学性能,增加了高级网格划分中的影响球体划分,如图12所示。
4 ~% ^) U6 ]* W% ~ 图12 重点分析区域精细网格划分
0 z. T& g$ w7 _, ^. ^+ s9 ], V+ A 验证零件在给定的载荷下静强度是否满足要求;分析其安全系数,并采用线性加载方式加载集中载荷,加载力为20000N。 % w3 V6 h& r% c0 a8 i
释放器吊装部分材料为TC4,质量为2.3kg,所受最大载荷为14100N,支撑板部分为AL6061,质量为3.5kg,所受最大载荷为8500N。如图13所示,释放器吊装部分及支撑板变形导致的最大静位移为0.003mm,总体最大静位移为0.76mm,形变量极小,满足设计要求。 % U6 i+ K$ J; Y) g+ H
图13 计算结果 - F) u' z" F3 N
四、结论 , s4 W% K0 {: v, b: H
本文针对现有海洋调查设备甲板布放的需求,基于海上作业的实际经验,开展了基于电磁驱动法的一种红外遥控式海洋装备甲板吊装释放机构设计工作,该机构能有效解决海上吊装问题,目前国内外尚未见类似研究。
- i% {1 w& I; c( l4 R7 r 针对作业工况和技术难点,开展了电磁吸附动力机构、吊装承载及机械释放机构和执行机构的设计,采用有限元分析理论对PA66、AL6061和TC43种材料进行了力学分析,经分析研判顶部吊钩、左支撑板、右支撑板及中部支撑销轴等主承载结构部件采用TC4材料,其他部件采用AL6061材料,可实现经济性与结构性的融合。 6 A2 z! y$ V9 q
本文为解决海上吊装问题提供了相应的技术方案,下一步还需要制作工程样机并开展负载及功能测试试验,从而实现量产。
+ n, `% }2 c' m 1
% H! N' X0 |9 g END
6 i: l. ?: b; O! D3 U1 |8 \. g 1
2 `" y# K% h% B6 ] 【作者简介】文/任玉刚 景春雷 刘延俊,分别来自国家深海基地管理中心、山东大学机械工程学院。第一作者任玉刚,1987年出生,男,硕士,高级工程师,主要从事深海探测技术装备应用技术研究;通讯作者刘延俊,1963年出生,男,博士,教授,主要从事深海探测技术装备应用技术研究。本文为基金项目,山东省自然科学基金资助项目(ZR2020QD041)、国家重点研发计划资助项目(2021YFC2801605)、国家自然科学基金资助项目(52175018)。文章来自《海洋技术学报》(2023年第1期),用于学习与交流,参考文献略,版权归作者及出版社共同拥有,转载也请备注由“溪流之海洋人生”微信公众平台编辑与整理。  fill=%23FFFFFF%3E%3Crect x=249 y=126 width=1 height=1%3E%3C/rect%3E%3C/g%3E%3C/g%3E%3C/svg%3E)  fill=%23FFFFFF%3E%3Crect x=249 y=126 width=1 height=1%3E%3C/rect%3E%3C/g%3E%3C/g%3E%3C/svg%3E)
~5 g0 m( {; C" O$ N 相关阅读推荐 海洋技术▏海洋调查船装备建设发展趋势研究知识窗▏我国的海洋调查船、装备及技术展示论文专区▏海洋环境装备体系建设现状及发展策略知识窗▏海洋调查技术和方法的演变与进步海洋论坛▏美国大型海洋装备运维现状及对我国的启示产业透析▏海洋测绘装备国产化现状及其思考  fill=%23FFFFFF%3E%3Crect x=249 y=126 width=1 height=1%3E%3C/rect%3E%3C/g%3E%3C/g%3E%3C/svg%3E)  fill=%23FFFFFF%3E%3Crect x=249 y=126 width=1 height=1%3E%3C/rect%3E%3C/g%3E%3C/g%3E%3C/svg%3E)
% \0 J& f' [) i: _. @. t 公众号 5 T* [( d# e2 g; f' r7 K
溪流之海洋人生
4 q2 x3 v! R6 v' G3 G 微信号▏xiliu92899 9 V7 J! g( I% i, }+ x+ H: q+ c
用专业精神创造价值 1 i% ^' r- t& k5 l6 @- G0 m
用人文关怀引发共鸣 您的关注就是我们前行的动力
" P$ [) [ T9 a. A$ v3 Q0 x 投稿邮箱▏191291624@qq.com
% O( d, m! X' f+ N4 @- e! }
5 y1 O1 l' K/ |3 S" f) X3 Y! C
p4 l+ N# a3 B- q/ ?3 t! S" ~; A( a$ O* q7 m8 t9 u2 N
, e `8 K* h4 v* Q, _+ y4 c
|