|
5 Q; @: I$ z) S
 & O7 W( e( w9 j( C1 v& g _
 , T/ D5 q4 A2 z$ y
一、前言
. A! u4 j- F7 h$ ]; L4 |' Q4 t 地震灾害,是指由地震引起的一系列破坏性后果和影响。地震,是地球内部岩石突然断裂和释放能量的自然现象,这种能量以地震波的形式传播,引起地面的震动。地质灾害,是指由地球内部动力或外部环境变化引起的自然灾害。海洋灾害,是指由自然因素或人为活动引起的,对海洋环境、海岸带生态系统、人类生活以及海洋经济活动造成重大影响的灾害事件。研究自然灾害不仅有助于减轻灾害的破坏性影响,还能推动科学进步和社会发展,提高人类对自然环境的适应能力和管理水平。
; `, x' r& Y2 I8 x# M 在上述背景下,企研数据在中国公共政策与绿色发展数据库(CPPGD) 中推出了中国灾害研究数据库——地震灾害、地质灾害、海洋灾害模块,数据来自《中国环境统计年鉴》等公开渠道。
@$ F- @$ S& S9 n. j. w- I 二、数据简介
& P: ^: A5 A: y' [ 地震灾害、地质灾害、海洋灾害3个模块基于2004-2024《中国环境统计年鉴》所构建。所有的数据均经过手动的整理和清查,最大可能保证了数据的准确性,并且提供了详细准确的字段说明,确保数据在各年之间的可比性。 以上3个模块目前主要包含如下4张表:模块表格数据量数据区间地震灾害地震历史记录表(2012年-2024年)约1.21万条2012年-2024年地震灾害全国地震灾害具体信息表(2004年-2021年)约150条2004年-2021年地质灾害全国地质灾害及防治情况统计表(2004-2021年)约580条2004年-2021年海洋灾害全国海洋灾害统计表(2004-2021年)约100条2004年-2021年三、数据字段说明
0 q0 ^+ J8 t8 A* @# V$ w+ r% b 四、样例数据因篇幅有限,推文只展示部分字段。完整数据请登录企研·社科大数据平台-机构版(r.qiyandata.com)及企研·社科大数据平台-零售版(m.qiyandata.com)进行查询。
+ ], u# _6 j {6 A2 z" J3 D! s 
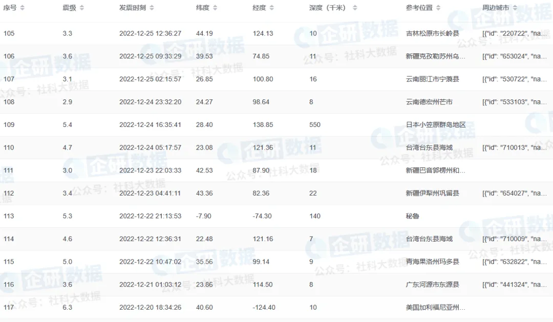
7 E* l: {6 {0 p7 T' h: w 样例数据来源:地震灾害-地震历史记录表 2 `7 u( i& B. g! g" Y# h9 v
五、数据下载指南0 S6 a3 y4 R" G
以上数据已在企研·社科大数据平台-机构版(r.qiyandata.com)及企研·社科大数据平台-零售版(m.qiyandata.com)上线! 9 e& u7 q( c2 R# z/ {9 L E1 e
机构用户:社科大数据平台-机构版
, V" r7 M- z c' n( [: V 下载流程:
$ Q: R4 z# O5 {% A+ g- @$ H 连接校园网或登录学校VPN,进入【企研·社科大数据平台-机构版】网站,在网站右上角,点击“IP登录”;
( L. h% I( k C f. \6 N 在搜索框搜索相应关键词,或在导航栏选择相应专题库→子库→模块→数据表,筛选字段等信息后,即可预览或下载数据。 图片来源:企研·社科大数据平台-机构版 r.qiyandata.com推荐试用: . d0 D, q7 e' `
【企研·社科大数据平台-机构版】现为国内各大高校开通3-6个月不等的试用期,开通试用后,用户可通过校内IP访问,查询下载数据。欢迎各位读者朋友向学校/机构图书馆推荐企研·社科大数据平台!
1 p* v7 c4 @: `5 G$ E1 D0 X% ]" ~ 更多详情请查看 |