|
7 d' {3 Y2 Y- y! V  " D. M {+ M; L1 g
飞行员发起的有责任、有态度、有原则的飞行员培训 珠海中航通航整体印象
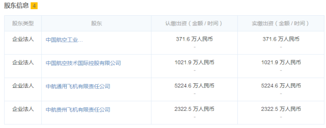
/ R' {" \/ s; A% [/ b0 K: G$ D 注意看股东信息…… " u! f$ U2 H3 ? q+ [/ Z9 n: Y
 ! n& [. _ f9 w0 ^
珠海中航通用航空有限公司(珠海中航通航)是按照中航通用飞机有限责任公司的战略部署,以原贵州双阳通航为平台构建的甲类通用航空公司,公司注册地和主运营基地设在珠海机场,注册资本8940.6万元。
9 w# q3 ], T b/ L4 L9 N/ k$ v" i 
% Q+ K; Y8 b: H 2010年4月25日,珠海中航通航取得民航中南地区管理局《通用航空经营许可证》,5月25日取得企业法人营业执照,11月1日取得《商业(非运输)航空运营人运行合格证》珠海中航通航正式开始运营。
5 I5 Q4 p7 l3 n+ Q% ~/ m3 P  / `/ E0 N4 t4 U( N2 b, E. ]
2013年12月31日,公司并购荆门通用航空公司。2014年12月取得CCAR-135运行合格证。 4 g7 O; ?) v, `. K7 \: I: A f: S

/ d" ]. K' Y( l6 h' K  , C+ V: ]4 i8 P) T
在《2017年通航专项资金预算方案》中珠海中航通航获得补贴总额260.82万元,全国排名第26,拿到补贴的公司一共136家。 珠海中航通航基本信息
, \; @$ t" G9 p2 ?/ _0 ?7 V. o+ A( H 主要来源:G-0039-ZN 生效日期:2015年11月27日
8 N. V) h1 D- m W# B# R' W
4 P2 Z; [5 [; V# h- |6 O @/ X) Q8 C 1.主运营基地 ! x d# V2 H/ [- N8 k! R/ c
广东省珠海市金湾机场 0 {' d5 K; I. Z+ N2 e7 |+ |# f
 . M9 p, v4 v9 T/ |9 }& F
邮政地址:
5 H. ^5 S- J1 g9 k! [+ q2 `, \ 广东省珠海市金湾区三灶镇金海中路888号航空产业园珠海中航通用航空有限公司 2 b; ]. b. l9 u8 y/ o0 n
邮政编码:519040
7 F2 v' Z: m |6 m9 \/ z) p 邮箱:zhjlb001@163.com 传真:0756-3975299
{, y. M/ C! R# v; m' P$ @
3 j G8 ^ `9 @; @" K' i5 e 2.公司主要负责人
5 t! q+ ^+ N u7 ^% P" N! x  6 t6 U1 ~0 z- \9 P
3.公司规模
3 m4 k4 q5 B$ r$ ]; d8 i 公司主运营基地设在珠海,拥有22架作业飞机,其中运12飞机7架、赛斯纳208飞机7架,运5飞机8架。
1 i5 p- ]- s0 h- O2 i$ D+ ` 
& r- B3 w1 |+ b3 h3 m 飞行员32名,包括 : 3 k! i6 V, [" k. D$ E- U4 a: ]
运12与赛斯纳208飞行教员 1名
4 l0 I6 e& @+ f6 I# {5 u' A& B 运12机长 8名
, U9 Z, b* Z5 Q# L) m 运12副驾驶 2名 + _ R* J9 O }: Z1 Q/ ~8 H
赛斯纳208机长 5名 赛斯纳208副驾驶 5名
! q) ?3 G9 ^6 M- ~8 i- O
, ~8 o7 o# I f3 e 4.航空器清单
0 o# ]" x* h: @- H# G, K T' g 其中有航空器登记号的飞机如下: & c; ]1 Q% X* d1 o
 ) j" D. W9 F& S: {7 a1 C
5.运用范围
4 t0 }% b# l _* x S 
8 M# O* `8 x, X, ^4 W 中国全境一般商业飞行。 珠海中航通航自画像8 ^' i2 k6 [" v, [
内容来源:www.avic-gac.com
: a( O/ r1 K7 x1 d# @1 H: g# K9 P; ~6 p  , D, F& v5 \3 {9 h
1.发展历程
' b* v3 G- A! v- }  ( k/ L/ R& V9 G( e4 M8 T5 Y9 L
1987年,组建贵州双阳通用航空公司
7 J9 _- o: X/ ^* A1 n7 j6 p1 B 。 / d" E X! O' Z& i6 q2 v1 P# t
2001年,由贵州双阳飞机制造厂、中国航空技术进出口总公司、北京中航飞技术发展有限公司参股组建并改制为有限责任公司,注册资金3716万元% h% z, n o8 }. ^: b; c
。 4 v' r/ @ ~& ?) t6 N
2010年5月,中航通用飞机有限责任公司注资整合为珠海中航通用航空有限公司。 9 K' @4 b* ^. E% [, l8 \& s
2.经营范围 " v0 p9 ]* F+ h7 r
珠海中航通航具备甲类通航运营资质,经营项目包括:
- D0 |0 t* b% ~7 `0 ] 人工降水、航空探矿、空中游览、公务飞行、航空器代管业务、出租飞行、通用航空包机飞行;
- v# d6 x! J7 i 航空摄影、空中广告、海洋监测、渔业飞行、气象探测、科学实验、城市消防、空中巡查; 5 E. Q& [3 f+ b- S! g
飞机播种、空中施肥、空中喷洒植物生长调节剂、空中除草、防治农林业病虫害、草原灭鼠、防治卫生害虫、航空护林、空中拍照。
0 E8 I2 [! H4 \! Y 航空护林
2 m4 ^0 s: d7 ]+ | 
" l) l& U! U' U" }- ] 航空摄影 0 [- @7 K; E& C$ E

1 F, p" d/ _9 p 航空探物 3 I& _' p9 }+ b8 X3 n
 + T$ t- a& a# Q. @+ M
科研试飞 / m5 n8 Y) J% N* _7 w3 W
 5 W* d' J, X, M( `) L e. z9 p$ T
3.社会责任
- ^9 G5 @- y* F% X 珠海中航通航专注于通航运营专业服务,通过建立高质、高效的运营体系,为国家和地方的经济建设和社会保障服务。 8 C: q j/ q1 }8 g6 l$ A; ~2 P3 t! l
自2010年5月成立以来,先后为贵州关岭滑坡、云南盈江地震、云南保山森林大火、云南鲁甸地震等重大自然灾害提供应急航摄服务,为灾区救援提供第一手影像资料。
3 E- R1 D) J8 L2 i  , e0 O7 _: D9 Z* o
此外,还向云南、广东、广西、天津等省市提供人工增雨服% p8 F0 Q. a: e
8 b" d/ l6 k# X7 L: h- U3 }1 T 务,向珠海提供海洋救捞服务,向多个省份和城市提供航摄和物探服务,为当地的经济建设和社会保障提供重要支持。 紧抓通用航空发展机遇,贯彻中航工业集团公司“两融、三新、五化、万亿”发展战略,公司将不断加大机队规模和运营能力建设,通过集聚人才,创新商业模式,提升核心竞争力,打造成为国内领先的通用航空运营企业。; N) x. o/ D9 E- `4 F, b
% Z4 L# s1 i/ w7 H" ? c7 o8 S* V3 k 4.合作伙伴 + o# K( {# B' \' n/ ]6 D

3 }) f( I& p& J* ]% O( i1 R8 V1 }1 ^; c 5.招贤纳士
( c5 X/ W0 L( T l7 Y; c3 C O" X  fill=%23FFFFFF%3E%3Crect x=249 y=126 width=1 height=1%3E%3C/rect%3E%3C/g%3E%3C/g%3E%3C/svg%3E)
( h" u) {0 ~1 c1 A 联系方式 地址:
$ X/ Q" Q: j) H2 d
0 N0 k) c0 t2 w' `8 k2 _ 广东省珠海市金湾区三灶镇金海中路888号航空产业园珠海中航通用航空有限公司( c% t# G8 D$ ]+ `
& P# m" n4 H2 y
邮编:519040
; U R- W! I( \3 e* x2 q# a# B
; P: f/ J& C+ \& L# e$ l 传真:0756-3975299 ! a+ w; K. R0 s) W3 G( ~# Y
邮箱:zhjlb001@163.com
$ S3 m ?) o7 ]3 }6 c9 X0 ~9 {( A. P 媒体咨询7 X! R6 X8 |+ F
/ U# i( B$ T' S# U3 s, `; x 电话:0756-3975293
' ] B! n! ~- a" S/ \" L % J6 N: }- K' a, B# R# }# m
业务洽谈9 b+ S+ H6 }& y" Y+ a e6 |5 u1 ~
电话:0756-3975302、3975303
" x, }9 b4 c7 `2 g7 f" i' Y
- l$ }8 ^! M: Z9 @ —End— : P1 Z3 a' f5 a6 l$ S' l! A
往期回顾:
0 s( J* q) ]) ?6 a% g 航线运输公司驾驶员的招聘信息登记
, w8 M: v7 i7 y! v& o 上海中瑞通用航空有限公司
2 |( [( S9 o5 g& l . ?$ Q0 F, _3 h, c. f8 V! d
! T |/ a9 q: w' @1 @; X
四川驼峰通用航空有限公司 3 |' X3 M8 P: A
中国飞龙通用航空有限公司 . `; U: L/ L# U4 F
上海金汇通用航空股份有限公司
& h8 X+ p6 k" \" w5 g7 g 西林凤腾通用航空 # z1 @ z' t$ s
山东通用航空服务有限公司
# z& s# l; Z4 S1 U- d 深圳金石通用航空有限公司
) Q G9 O6 z% M" R4 a4 p 山西成功通用航空股份有限公司
3 O7 S& r9 r. O% E1 M ▼ 9 M1 x# f5 J J- y
欢迎转发朋友圈,公众号转载请注明来源“在云端航空”。 $ D6 m1 `! d1 q/ m4 I9 V+ T
素材来源 |珠海中航通航 : b# g6 i9 z: R8 G: N; l' W& M) ~! \9 [
有责任、有态度、有原则的飞行员培训 ! m8 r6 k: b9 x6 T- g& [% i
 fill=%23FFFFFF%3E%3Crect x=249 y=126 width=1 height=1%3E%3C/rect%3E%3C/g%3E%3C/g%3E%3C/svg%3E)
U7 t( _% x9 d) c( S- s 学飞行请记住,最终能够坚持拿到飞行执照的人,都值得我们为其鼓掌,因为他们付出了百分之百的努力。如果你对飞行有一份终身的热爱,让在云端成为你梦想的支点,开启你的飞行生涯。全球招飞热线:86-15601627010。 8 w3 n- Y6 k" p) I8 u7 W+ x
在云端 up in air 梦想支点 · 飞天平台 长按识别二维码关注我们% T2 X( _2 Q8 z
在云端航空教育 * Q- g2 l! L5 v# z- z. m* a( H8 m+ q
Up In Air Aviation Education
5 ~9 d8 t$ J0 y: q% ~" y ~ 有原则·有态度·有责任的航空教育 ~
* w: k2 F3 R2 j- Y' F2 i
+ t. a" [$ W* K: ?4 A7 C0 J& s
F/ a/ g. x6 v8 A" @" X4 d7 M1 @
% a+ z, Q. E) Y) H |